专利状态
放射成像的控制系统
专利申请进度
申请
2014-05-30
授权
2014-11-19
预估到期
2024-05-30
专利基础信息
申请号 申请日
授权公布号 授权公告日
分类号
分类
申请人名称 锐珂(上海)医疗器材有限公司
申请人地址
专利法律状态
  • 2014-11-19
    授权
    状态信息
    授权
摘要
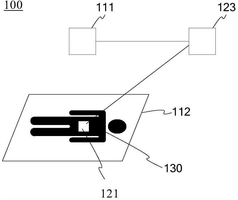
本实用新型涉及放射成像的控制系统。一种放射成像的控制系统,包括:运动传感器,其经配置以检测目标对象的动作并生成检测信号;控制器,其经配置以评估所述检测信号,并当评估结果指示所述目标对象的动作不影响成像质量时使得一放射成像系统能够对所述目标对象执行放射成像。采用本实用新型中的方案,可以有效地减少甚至杜绝由目标对象的动作、承载平台的移动、或平板探测器的移动导致的不成功的放射成像,从而从统计平均的角度降低了针对每个目标对象的放射剂量和伤害风险。

返回首页 | 品牌大全 | 品牌排行 | 品牌问答 | 品牌资讯 | 品牌价值 | 关于我们 | 联系我们 | 免责声明

Copyright 2013-2020 品牌门户,牌子123(www.paizi123.cn) 版权所有 备案号:苏ICP备13009020号-7

网站地图