专利状态
一种可任意定制尺寸的混合材料吊柜
专利申请进度
申请
2020-01-21
授权
2020-11-10
预估到期
2030-01-21
专利基础信息
申请号 申请日
授权公布号 授权公告日
分类号
分类
申请人名称 杭州丽博家居有限公司
申请人地址
专利法律状态
  • 2020-11-10
    授权
    状态信息
    授权
摘要
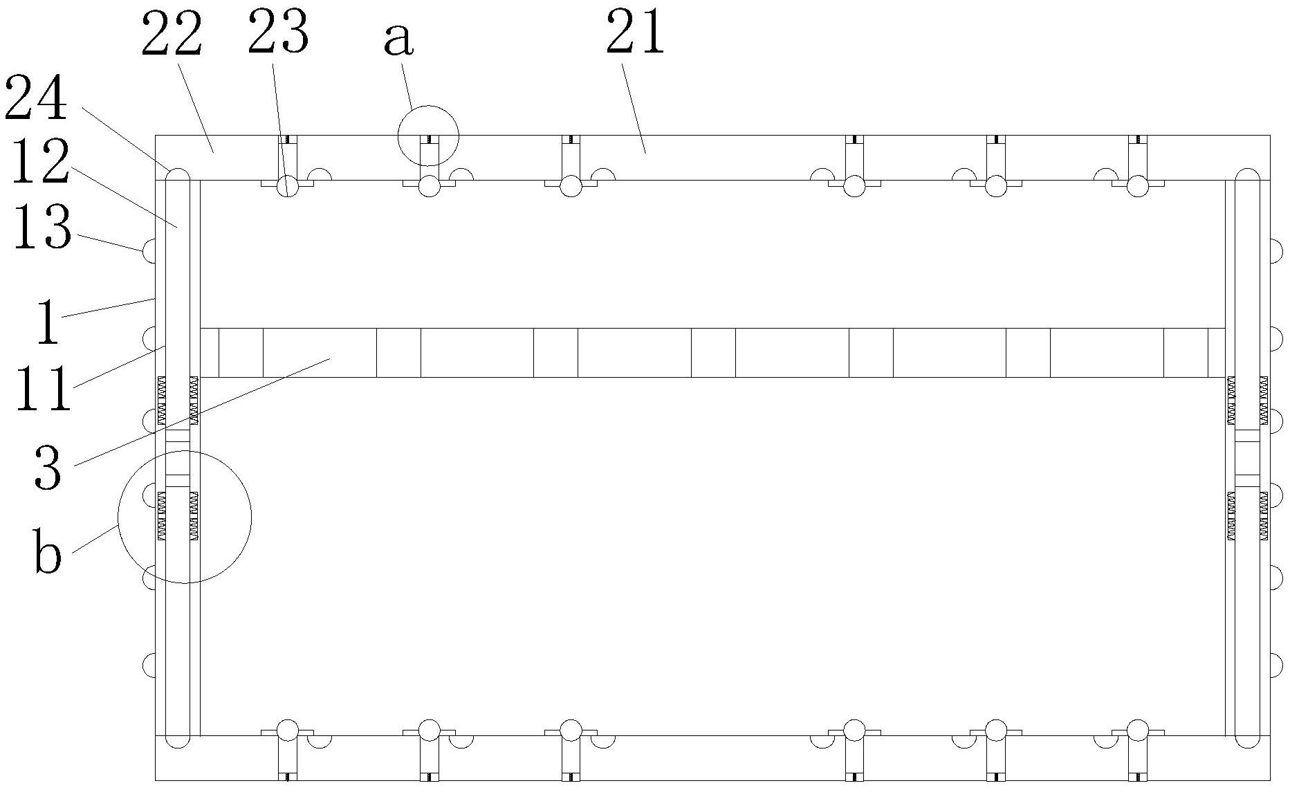
本实用新型涉及吊柜技术领域,且公开了一种可任意定制尺寸的混合材料吊柜,包括竖板、横板、放置架和背板,竖板和横板均有两个,两个竖板卡合在两个横板中间,放置架固定安装在两个竖板中间,放置架和背板均为可伸缩板,每个横板包括有初始板和组合板,组合板有六个且初始板的左右两侧个设置有三个组合板,使两个拨动板相互靠近,拨动板带动固定杆在活动槽内移动,从而使固定杆的伸出活动槽的一端从嵌入槽脱离,从而使竖板与初始板或组合板分离,将开合在竖板侧面嵌入块上的组合板转动水平,然后松开拨动板,利用限位块的弹力效果,固定杆在活动槽内恢复原位,且此时固定杆卡合在转动水平的组合板上的嵌入槽内,达到改变吊柜尺寸的效果。  

返回首页 | 品牌大全 | 品牌排行 | 品牌问答 | 品牌资讯 | 品牌价值 | 关于我们 | 联系我们 | 免责声明

Copyright 2013-2020 品牌门户,牌子123(www.paizi123.cn) 版权所有 备案号:苏ICP备13009020号-7

网站地图