专利状态
一种酵母粉生产发酵用种子罐
专利申请进度
申请
2020-01-17
授权
2021-01-12
预估到期
2030-01-17
专利基础信息
申请号 申请日
授权公布号 授权公告日
分类号
分类
申请人名称 湖北海宜生物科技有限公司
申请人地址
专利法律状态
  • 2021-01-12
    授权
    状态信息
    授权
摘要
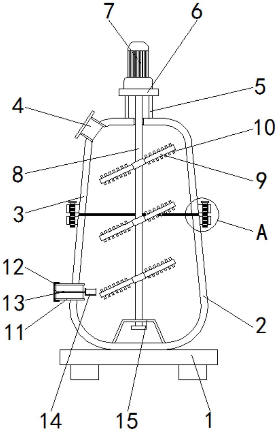
本实用新型涉及发酵粉生产设备技术领域,且公开了一种酵母粉生产发酵用种子罐,包括底座,所述底座的顶部固定安装有下罐体,所述下罐体的顶部活动安装有上罐体,所述上罐体顶部的左侧固定安装有进料斗,所述上罐体的顶部固定安装有密封管,所述密封管的顶部固定安装有安装板,所述安装板的顶部固定安装有驱动电机,所述驱动电机的输出轴固定安装有转杆。该酵母粉生产发酵用种子罐,通过设置转杆,使得发酵粉在发酵的时候能够保持内部温度与外侧温度保持相通,使得发酵粉在发酵的时候能够处于同一发酵阶段,提高了发酵粉的发酵的质量,有效的提高了种子罐的清洗效果,确保了种子罐内部干净,增加了种子罐发酵发酵粉的质量。

返回首页 | 品牌大全 | 品牌排行 | 品牌问答 | 品牌资讯 | 品牌价值 | 关于我们 | 联系我们 | 免责声明

Copyright 2013-2020 品牌门户,牌子123(www.paizi123.cn) 版权所有 备案号:苏ICP备13009020号-7

网站地图