专利状态
一种汽车减振器支柱总成装车角度检测装置
专利申请进度
申请
2022-06-30
授权
2022-10-28
预估到期
2032-06-30
专利基础信息
申请号 申请日
授权公布号 授权公告日
分类号
分类
申请人名称 成都九鼎科技(集团)有限公司
申请人地址
专利法律状态
  • 2022-10-28
    授权
    状态信息
    授权
摘要
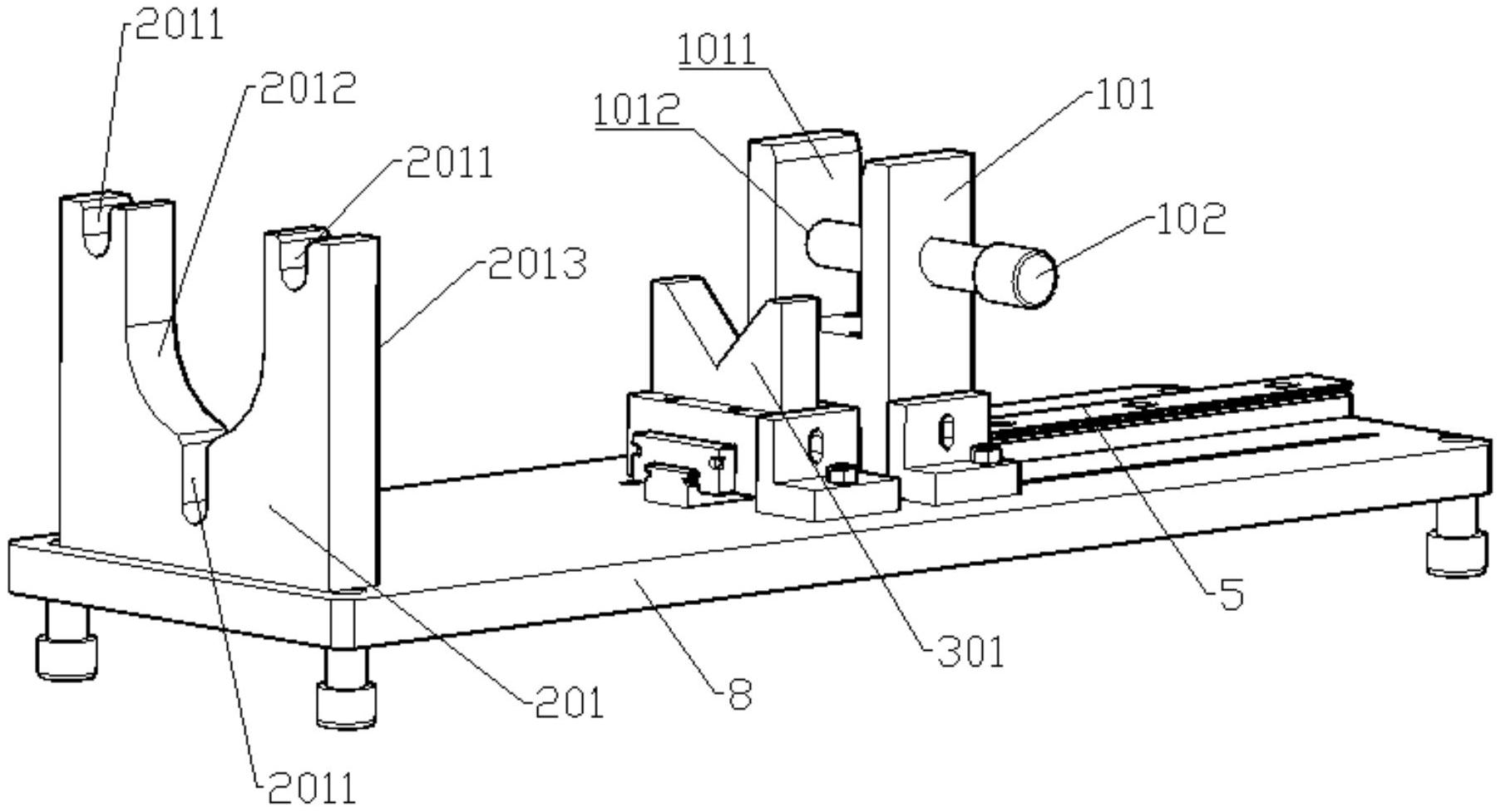
本实用新型属于汽车减振器技术领域,公开了一种汽车减振器支柱总成装车角度检测装置,包括底板,所述底板上沿安装方向设置有固定机构和检测机构,所述检测机构包括两个竖向间隔设置的检测面,两个所述检测面与安装方向平行设置,当将减振器支柱总成放在固定机构上时,所述固定机构对减振器支柱总成一端沿安装方向上进行定位,此时减振器支柱总成另一端的吊环两侧面分别与两个检测面相配合。对减振器支柱总成进行检测时,可将减振器支柱总成一端放在固定机构上进行定位,再将减振器支柱总成另一端的吊环沿其两侧面放入两个检测面间,当吊环能够正好落入到两个检测面之间且与检测面之间形成良好配合,则说明减振器支柱总成上吊环的安装位置为合格。

返回首页 | 品牌大全 | 品牌排行 | 品牌问答 | 品牌资讯 | 品牌价值 | 关于我们 | 联系我们 | 免责声明

Copyright 2013-2020 品牌门户,牌子123(www.paizi123.cn) 版权所有 备案号:苏ICP备13009020号-7

网站地图